تو اینجایی: صفحه اصلی / اخبار / دانش مداری / طراحی فلنج و پروفیل آج چرخ راه آهن: عوامل کلیدی برای ایمنی و عملکرد

طراحی فلنج و پروفیل آج چرخ راه آهن: عوامل کلیدی برای ایمنی و عملکرد

نویسنده:ویرایشگر سایت     زمان انتشار: 2026-04-23      اصل و نسب:سایت

پرس و جو

طراحی فلنج و پروفیل آج چرخ راه آهن: عوامل کلیدی برای ایمنی و عملکرد


طراحی فلنج و پروفیل آج چرخ راه آهن نقش مهمی در تضمین عملکرد ایمن و کارآمد قطار دارد. هندسه تماس چرخ و ریل مناسب نه تنها سایش و استرس را کاهش می دهد، بلکه پایداری کلی دویدن و عملکرد مذاکره منحنی را بهبود می بخشد.

بهینه سازی هندسه تماس چرخ و ریل

هنگام طراحی پروفیل آج چرخ، اطمینان از سازگاری مناسب با شکل سر ریل ضروری است. یک رابط ایده آل چرخ و ریل می تواند به طور موثر استرس تماس را کاهش دهد و سایش را به حداقل برساند، که مستقیماً به موارد زیر کمک می کند:

· بهبود عملکرد هنگام عبور از منحنی ها
· کاهش فرکانس نگهداری و هزینه
· افزایش سرعت بحرانی برای پایداری قطار

علاوه بر این، پروفیل آج جدید طراحی شده باید دقیقاً با مشخصات فرسوده در شرایط عملیاتی واقعی مطابقت داشته باشد. این به کاهش میزان حذف فلز در حین پروفیل مجدد کمک می کند و در نتیجه عمر چرخ را افزایش می دهد و هزینه های تعمیر و نگهداری را کاهش می دهد.


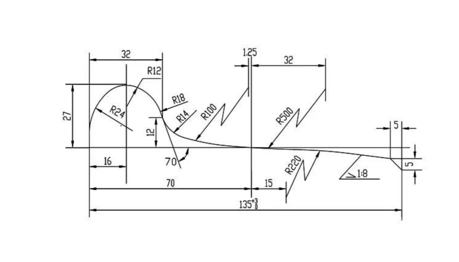
هندسه تماس ریل چرخ و مشخصات آج


طراحی فلنج چرخ و ملاحظات ایمنی

فلنج یک ویژگی ایمنی کلیدی است که از خروج از ریل جلوگیری می کند. ارتفاع و هندسه آن باید به دقت کنترل شود:

· ارتفاع فلنج: معمولاً بین 26 میلی‌متر تا
30 میلی‌متر
است .

برای عبور ایمن از میان پیچ ها، قطر چرخ های کوچکتر معمولاً به ارتفاع فلنج بالاتری نیاز دارند.

زاویه فلنج نیز بسیار مهم است. سطح بیرونی فلنج باید زاویه مناسبی با صفحه افقی داشته باشد:

· زاویه خیلی کوچک: خطر بالاتر بالا رفتن از چرخ (خارج شدن از ریل در سرعت های پایین)
· زاویه خیلی بزرگ: حذف ماشینکاری را در حین پروفیل مجدد افزایش می دهد و ممکن است باعث تماس بین بالای فلنج و ریل در شرایط زاویه حمله شود.

مشخصات فلنج چرخ راه آهن و ساختار ایمنی

تأثیر شرایط و سرعت مسیر

مشخصات آج در درجه اول با توجه به شرایط مسیر و سرعت عملیات قطار، به جای طراحی ساختاری چرخ، تعیین می شود. هنگامی که هیچ تغییر قابل توجهی در زیرساخت مسیر یا سرعت عملیاتی وجود ندارد، مشخصات آج معمولاً بدون تغییر باقی می‌ماند - حتی اگر ساختار چرخ اصلاح شود.

در بیشتر موارد، پروفیل های آج استاندارد شده برای اطمینان از سازگاری و قابلیت اطمینان در سراسر سیستم های راه آهن اتخاذ می شوند.

پایان

طراحی فلنج و پروفیل آج چرخ راه آهن یک جنبه حیاتی در ایمنی و عملکرد قطار است. اپراتورهای راه‌آهن می‌توانند با بهینه‌سازی تعامل چرخ و ریل، کنترل ابعاد فلنج و تراز کردن طراحی آج با شرایط عملیاتی واقعی، کارایی عملیاتی را به میزان قابل توجهی افزایش دهند، سایش را کاهش دهند و ایمنی کلی را بهبود بخشند.

پست الکترونیک
آدرس ما
شماره 196، خیابان جنوبی سیهو، منطقه فناوری پیشرفته Cihu، شهر Ma'anshan، استان آنهویی
درباره ما
Maanshan Tianjun Machinery Manufacturing Co.، LTD تامین کننده برتر چرخ ها، محورها، لاستیک ها و چرخ برای لوکموتیو، اتوبوس مسافربری، واگن، مترو و سایر واگن های ریلی و معدنی است که در خدمات پس از فروش و خدمات تعمیرات تخصصی تخصص دارد.
راه حل سفارشی یک تعهد برای شرکت ما است. لطفا برای ارائه بهترین محصولات برای شما با ما تماس بگیرید!

اشتراک در
برای دریافت آخرین اخبار در خبرنامه ما ثبت نام کنید.
کپی رایت © 2023 Maanshan Tianjun Machinery Manufacturing Co., Ltd.کلیه حقوق محفوظ است. Technology by leadong.com | Sitemap